Flying apparatus and a rotative wing surface

Flying apparatus and a rotative wing surface

https://knowtransfer.ekodo.es/web/image/product.template/114/image_1920?unique=ca8909c

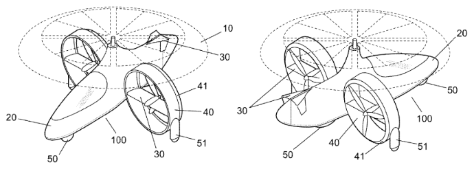
A flying apparatus includes a main structure and a rotative wing surface , the rotation of the wing surface allowing stabilizing the apparatus.

A fuselage hangs from the wing surface around a hanging point , allowing the wing surface and the fuselage be moveable independently with respect to each other and the wing surface is configured as a disc to manoeuvre the apparatus and including one or more elements acting as security and secondary command and control surfaces , orienting the apparatus in desired direc tions . The main structure and wing surface can overwrap at least partially the the fuselage in order to improve the aerodynamic performance . The airframe or fuselage and the wing surface are rotatable around any of three rotational axes independently.

*contact us for further details.

0.00 € 0.0 EUR 0.00 €

0.00 €

Not Available For Sale

    This combination does not exist.

    Terms and Conditions
    VAT not included 
    30-day money-back guarantee
    Shipping: 3-5 business days

    download pdf of the patent