Marketplace

The first Marketplace for innovations, patents and investments.


  • Increased visibility for novel products.

  • Test potential demand and novel markets.

Contact us

Patent and utility model valuation (net present value)
At KnowTransfer, we offer patent, utility model and other intangible Asset Valuation services.

Our reports utilise valuation methodologies widely recognised by the leading global authorities:

EPO (European Patent Office): We apply European standards to ensure your assets are recognised and respected across international markets.

*ask for bulk discounts from 3 patents or more.
3,500.00 € 3500.0 EUR
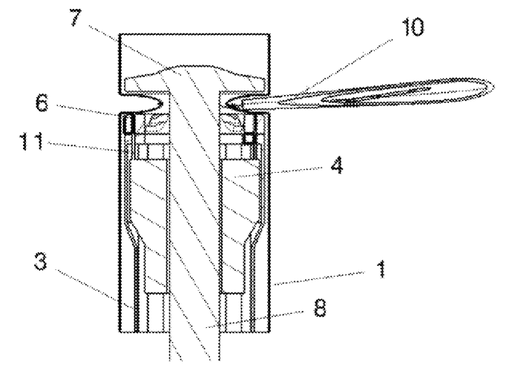
Purse suturing device for hollow viscus
A purse suturing device for a hollow viscus, such as the oesophagus or rectum, is a specialised surgical stapler used to prepare tissue for an anastomosis (the joining of two body structures).

This device is particularly useful in areas where hand-sewn suturing is difficult or impossible, such as during laparoscopic or pelvic surgery.Key components and features of the device include:Circular Stapler: Comprises a tubular stapler head, a handle with an actuator, and an anvil.

Dual-Position System:Pursing Position: The anvil is retracted from the stapler head, creating space for a suturing thread to be wound around the viscus.Stapling Position: The anvil moves close to the stapler head, compressing and folding the tissue layers together.Suturing Thread: Typically a plastic monofilament like polypropylene, which is wound around the tissue and tightened against the anvil's pole to create a pursed fold.

Pushing Stick: An optional tool used to fasten the thread tightly around the pole without needing to tie a knot.Staple Carrier: Includes a series of projections and recesses that hold the staples and provide space for the pushing stick to operate.This device improves surgical outcomes by providing a more secure and better-vascularised edge for subsequent procedures compared to traditional linear staplers, which can sometimes leave portions of the suture outside the target area.

*Please contact for details.
0.00 € 0.0 EUR
Advanced optical character recognition with generative AI
Prisma is not just another OCR tool. It is a platform that combines advanced optical character recognition with generative AI to transform unstructured documents into actionable data.
Beyond simply transcribing text, Prisma understands context, adapts to each client’s document workflows, and ensures accuracy even with complex layouts or low-quality scans.

Prisma is built on three pillars: Adaptive learning: Prisma is trained on your own document collections, allowing it to recognize domain-specific terminology, formats, and exceptions. Contextual intelligence: Instead of extracting isolated fields, Prisma structures information, linking names, dates, amounts, and entities into coherent outputs. Seamless integration: Results are delivered with clean metadata, ready to connect with ERPs, CRMs, or BI tools, ensuring smooth adoption and measurable efficiency gains. The result is a system that accelerates processes, reduces manual workload, and gives organizations a reliable way to scale document management with confidence.

*contact us for further details
0.00 € 0.0 EUR
protein-protein docking experiments (in silico)
software based scoring and report including insight of the affinity of binary interactions.
1,400.00 € 1400.0 EUR
AI-Powered B2B Sales Platform
Automate the generation of B2B opportunities by combining AI, automation, and data in a single environment. With Synapsale, you can search, contact, and schedule meetings with potential clients without relying on multiple tools or expanding your sales team. It enables sales teams and founders to save up to 70% of operational time and increase conversions by 30%, thanks to an intelligent workflow that integrates: Advanced search for leads segmented by industry, role, or location. Multi-channel messaging (LinkedIn + email) with contextual AI. Real-time dashboard with performance metrics and pipeline tracking. AI sales assistant that suggests messages, success stories, and resources tailored to each lead.

*price per monthly susbcription license
150.00 € 150.0 EUR
CO2 emissions market report (European Countries)
This repor includes an economic Assessment Report and Proposed Commercialisation Strategy for a New CO2 Removal Technology
3,200.00 € 3200.0 EUR
Nanomedicine market report (2025)
The global nanomedicine market, valued at USD 195 billion in 2025, is projected to grow at a CAGR of 15–20% if key industry challenges are resolved, reaching USD 392–485 billion by 2030. This report outlines the market forecast, key growth barriers, competitive landscape, and the strategic positioning.
1,200.00 € 1200.0 EUR
Liquid biopsy market report (2025)
The liquid biopsy and precision diagnostics market is experiencing unprecedented acceleration driven by the paradigm shift toward non-invasive, early-stage cancer detection.
This optimistic trajectory significantly outpaces the conservative 6.4% CAGR projected in broader liver cancer diagnostics reports, assuming successful resolution of key barriers including standardization, reimbursement accessibility, and regulatory frameworks.
1,500.00 € 1500.0 EUR

Willing to upload your product?

Please, send us:

  1. Title and brief description of your product.
  2. Representative photograph.
  3. Price (excluding VAT).

That is all, your product will be ready and available in our marketplace!

Please check our General Terms and Conditions for online purchases.

Frequently Asked Questions about Marketplace

Where can I find verified scientific technologies or sell my university's patents to global buyers?

KnowTransfer operates as a specialized Sci-Tech Marketplace that bridges the gap between labs and corporations:

  • Global Visibility: We list your technology in a global database accessed by specialized investors and industrial scouts.
  • Verified Portfolio: Every technology in our marketplace has undergone a preliminary valuation and technology Readiness Level (TRL) check.
  • Direct Connections: We facilitate direct communication between technology owners and potential licensees or buyers.

KnowTransfer's advice: A patent is a dormant asset if it's not visible. Use a specialized marketplace to increase the chances of technology licensing.

Ready to value your tech? Contact us.