Purse suturing device for hollow viscus

Purse suturing device for hollow viscus

https://knowtransfer.com/web/image/product.template/207/image_1920?unique=50acbaa

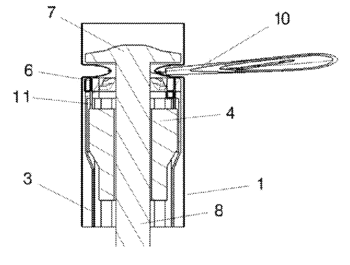
A purse suturing device for a hollow viscus, such as the oesophagus or rectum, is a specialised surgical stapler used to prepare tissue for an anastomosis (the joining of two body structures).

This device is particularly useful in areas where hand-sewn suturing is difficult or impossible, such as during laparoscopic or pelvic surgery.Key components and features of the device include:Circular Stapler: Comprises a tubular stapler head, a handle with an actuator, and an anvil.

Dual-Position System:Pursing Position: The anvil is retracted from the stapler head, creating space for a suturing thread to be wound around the viscus.Stapling Position: The anvil moves close to the stapler head, compressing and folding the tissue layers together.Suturing Thread: Typically a plastic monofilament like polypropylene, which is wound around the tissue and tightened against the anvil's pole to create a pursed fold.

Pushing Stick: An optional tool used to fasten the thread tightly around the pole without needing to tie a knot.Staple Carrier: Includes a series of projections and recesses that hold the staples and provide space for the pushing stick to operate.This device improves surgical outcomes by providing a more secure and better-vascularised edge for subsequent procedures compared to traditional linear staplers, which can sometimes leave portions of the suture outside the target area.

*Please contact for details.

0.00 € 0.0 EUR 0.00 €

0.00 €

Not Available For Sale

    This combination does not exist.

    Terms and Conditions

    VAT or shipping costs will be indicated after 'add to cart' button.
    If you prefer a bank transfer payment, contact us and we will provide an IBAN bank account.
      

    Products can be shipped to Spain (excluding Canary and Balearic Islands).
    Shipping: 3-5 business days (see exceptions in some products). Vacation periods may cause unexpected delays.