The first Marketplace for innovations, patents and investments.

What do we offer?

  • A fully functional platform 
  • Secure payments and automatic processing
  • Increased visibility and cross-selling
  • Test demand, sell in Europe, explore novel markets
  • Even early MVPs or prototypes may be included

Contact us

Molybdenum disulfide, MoS2 (20 mg)
*For Research Use Only.
100mg


Supplied in powder form, stable at room temperature and can be easily dispersed in water.

Prior to shipment, our nanomaterials fully characterised for optimum quality standards by: Raman spectroscopy / HRTEM (High Resolution Transmission Electron Microscopy) / TGA (Thermogravimetric Analysis) / TXRF (Total X-ray fluorescence) 7 XPS (X-ray photoelectron spectroscopy) / Elemental Analysis, and Sheet Resistance. Each sample supplied will be accompanied by the characterisation data and spectra.
125.00 € 125.0 EUR
Tungsten disulfide, WS2 (20 mg)
*For Research Use Only.
100 mg


Supplied in powder form, stable at room temperature and can be easily dispersed in water.

Prior to shipment, our nanomaterials fully characterised for optimum quality standards by: Raman spectroscopy / HRTEM (High Resolution Transmission Electron Microscopy) / TGA (Thermogravimetric Analysis) / TXRF (Total X-ray fluorescence) 7 XPS (X-ray photoelectron spectroscopy) / Elemental Analysis, and Sheet Resistance. Each sample supplied will be accompanied by the characterisation data and spectra.
125.00 € 125.0 EUR
Data mining for “Non digitally native documents”
*Contact us for further details.

Our software-based methodology enables the transcription of manuscripts, files or old documents difficult to read using standard OCR techniques.

Our proprietary method includes:

🧠 Step 1 – Machine Learning Adapted to the Text We train our models using data from your own collection. PrIx learns to recognize text through its own semantic andgraphical models.
🔍 Step 2 – Direct Search on the Image The system geolocates the zones in the image where a givensearch term is most likely to appear.
📊 Step 3 – Results with Context and Metadata PrIx not only finds the word—it helps structure the information. It can extract names, dates, and relationships, and generatemetadata automatically.
0.00 € 0.0 EUR
Advanced optical character recognition with generative AI
Prisma is not just another OCR tool. It is a platform that combines advanced optical character recognition with generative AI to transform unstructured documents into actionable data.
Beyond simply transcribing text, Prisma understands context, adapts to each client’s document workflows, and ensures accuracy even with complex layouts or low-quality scans.

Prisma is built on three pillars: Adaptive learning: Prisma is trained on your own document collections, allowing it to recognize domain-specific terminology, formats, and exceptions. Contextual intelligence: Instead of extracting isolated fields, Prisma structures information, linking names, dates, amounts, and entities into coherent outputs. Seamless integration: Results are delivered with clean metadata, ready to connect with ERPs, CRMs, or BI tools, ensuring smooth adoption and measurable efficiency gains. The result is a system that accelerates processes, reduces manual workload, and gives organizations a reliable way to scale document management with confidence.

*contact us for further details
0.00 € 0.0 EUR
e-Technology transfer office (e-TTO)
external support for TTOs, fostering effective technology transference.
* Technology valorization and market research.
* identify marketable technologies and proceses.
* test suitable markets en Europe, even before establishing a spin-off.
* upload innovative products and services to our sci-tech marketplace.
* explore novel funding opportunities.

*contact us for details.
0.00 € 0.0 EUR
Real-time monitoring of concrete maturity and temperature.
Wireless sensors fully embedded in concrete It performs temperature and relative humidity measurements inside the concrete to establish an accurate estimate of the evolution of the concrete strength in real time.

*contact us for further details
0.00 € 0.0 EUR
AI agent in your webpage
Build and integrate an AI agent asistant in your webpage.
Fully functional within minutes.
Feed it with your own information.
Integration with CRM

*contact us for details
0.00 € 0.0 EUR
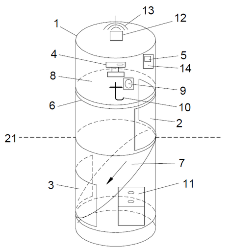
Solid waste collection and management system
Efficient management of the selective collection of urban waste. Currently, more than 70% of the solid waste deposited in containers is either incinerated or ends up in landfills due to the lack of classification (e.g. paper, glass, plastics, and organic matter), which prevents its industrial reuse.

The CaliWASTE smart container aims to improve this classification, guaranteeing that only the waste destined for this specific container is deposited, based on the estimation of the density (Kg/m3) of the deposited waste. The CaliWASTE container contains inside a compartment equipped with a set of integrated electronic devices: weight sensor, volume sensor, electronic control unit, and a processor that calculates the density of the introduced waste, so that, if the resulting value is within the predefined range of acceptable values, a folding lap opens to an inclined position in which the waste is discharged by gravity.

The collected information is sent to the waste manager, to enable the optimisation of the waste collection routes and schedules.

*Contact us for details.
0.00 € 0.0 EUR

Willing to upload your product?

Please, send us:

  1. Title and brief description of your product.
  2. Representative photograph.
  3. Price (excluding VAT).

That is all, your product will be ready and available in our marketplace!

Please check our General Terms and Conditions for online purchases.